一、产品简介
LXG-40~300, LXGR-40~30系列农用灌溉水表用于记录大流量管道的用水量,适用于单向水流的自来水、井水、河水、湖水灌溉,也可用于污水的计量,不宜测量有腐蚀性的液体,其生产标准为ISO4064(GB/T778-2007)。
二、产品特点
1. 指示机构采用磁传结构,具有防磁干扰功能。
2. 干式计数器,采用真空封装,可防冷凝雾化,长期保持清晰读数。
3. 六位数加大数字字轮显示读数,读数更清楚。
4. 可拆卸式计量机芯结构,不需要把水表的表壳从管道上拆下,更换维修方便。
5. 被测水流方向为轴向水流,流通能力大,压力损失小,量程宽,抗水冲击和抗污染能力强。
6. 农用灌溉水表适合用水量大且流量相对稳定的场合下使用。
7.采用高耐磨轴承系统(航空仪表用宝石轴承+ 高耐磨硬质合金轴)确保产品长期稳定性和可靠性,显著提高水表的流量。
8. 采用不锈钢紧固件及环氧树脂粉末壳体内外喷涂,有效防锈,延长产品使用寿命。
9. 可选防撬?;ね庹?。(阻止用户私自拆开机芯,破坏或改动测量机构,有效起到防盗水作用)。
10. 水表需要水平安装。
11. 需外加过滤器。
12. 水表的进水和出水口需要直管段。
13. 可适用于冷水≤50℃或者热水≤90℃。
14. 水压≤1MPa,1.6MPa。
15. 农用灌溉水表可根据用户要求增加远传脉冲输出功能。
三、流量技术参数
| 公称口径 DN | 计量等级 | 最大流量 Qs | 常用流量 Qp | 分界流量 Qt | 最小流量 Qi | 最小读数 | 最大读数 |
| mm | R | m3/h | m3 | ||||
| 40 | A | 20 | 10 | 1 | 0.4 | 0.0002 | 999999 |
| 50 | A | 30 | 15 | 4.5 | 1.2 | 0.0002 | 999999 |
| 65 | A | 50 | 25 | 7.5 | 2 | 0.0002 | 999999 |
| 80 | A | 80 | 40 | 12 | 3.2 | 0.002 | 999999 |
| 100 | A | 120 | 60 | 18 | 4.8 | 0.002 | 999999 |
| 125 | A | 200 | 100 | 30 | 8 | 0.002 | 999999 |
| 150 | A | 300 | 150 | 45 | 12 | 0.002 | 999999 |
| 200 | A | 500 | 250 | 75 | 20 | 0.002 | 999999 |
| 250 | A | 800 | 400 | 120 | 32 | 0.002 | 999999 |
| 300 | A | 1200 | 600 | 180 | 48 | 0.02 | 9999999 |
| 公称口径 DN | 计量等级 | 过载流量 Q? | 常用流量 Q? | 分界流量 Q? | 最小流量 Q? | 最小读数 Min | 最大读数 Max |
| mm | R | m3/h | m3 | ||||
| 40 | 20 | 20 | 16 | 3.2 | 0.8 | 0.0002 | 999999 |
| 50 | 20 | 31.25 | 25 | 5 | 1.25 | 0.0002 | 999999 |
| 65 | 20 | 50 | 40 | 8 | 2 | 0.0002 | 999999 |
| 80 | 20 | 78.7 | 63 | 12.6 | 3.15 | 0.002 | 999999 |
| 100 | 20 | 125 | 100 | 20 | 5 | 0.002 | 999999 |
| 125 | 20 | 200 | 160 | 32 | 8 | 0.002 | 999999 |
| 150 | 20 | 312.5 | 250 | 50 | 12.5 | 0.002 | 999999 |
| 200 | 20 | 500 | 400 | 80 | 20 | 0.002 | 999999 |
| 250 | 20 | 787 | 630 | 126 | 31.5 | 0.002 | 999999 |
| 300 | 20 | 1250 | 1000 | 200 | 50 | 0.02 | 9999999 |
四、最大允许误差
①低区(Q?≤Q<Q?)最大允许误差为±5%
?、诟咔?Q?≤Q≤Q?)最大允许误差为±2%

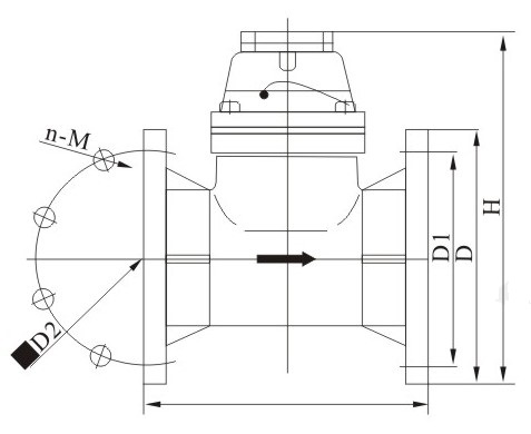
六、外形及规格尺寸

| 公称口径 DN | 长 L | 高 H | 法兰外径 D | 螺栓孔中心圆直径 D1 | 法兰螺栓 |
| mm | nxd | ||||
| 40 | 200 | 253 | 165 | 125 | 4xM16 |
| 50 | 200 | 253 | 165 | 125 | 4xM16 |
| 65 | 200 | 268 | 185 | 145 | 4xM16 |
| 80 | 225 | 284 | 200 | 160 | 8xM16 |
| 100 | 250 | 295 | 220 | 180 | 8xM16 |
| 125 | 250 | 310 | 250 | 210 | 8xM16 |
| 150 | 300 | 339 | 285 | 240 | 8xM20 |
| 200 | 350 | 382 | 340 | 295 | 8xM20 |
| 250 | 400 | 433 | 395 | 350 | 12xM20 |
| 300 | 450 | 483 | 445 | 400 | 12xM20 |