一、视频实拍
二、产品简介
LXZ-15~40系列光电直读远传水表是一种数据可远距离传输的智能仪表,用来测量单向水流的自来水管道饮用冷水的总量。它采用了M-BUS∕RS485总线的通讯方式,实现水表使用水量的远程直读,有效地减少了管理部门上门抄表的工作量。
本类水表采用了光电直读技术直接判断水表字轮的位置,是基于光电技术和微电子技术的一种“位置识别”技术,它平时不耗电,只是在抄表瞬间供电从而读取字轮读数。与传统脉冲远传水表相比,采用分体式设计,电子单元安装在独立的全密封腔体内,防水性能达到IP68等级,不会受到光线干扰等问题,不改变传统水表结构,不影响传统水表计量精度及灵敏度,它可将读数误差降低至零,是自动抄表系统中机电转换零误差的电子远传水表,且采用微功耗设计,编码校验技术,抗干扰能力强、传输距离远、计量精度高、始动流量小、抄表方便、外型美观、安全卫生、寿命长等特点。
光电直读远传水表符合GB/T778-2018《饮用冷水水表和热水水表》和CJ/T224-2012《电子远传水表》的技术要求。通信规约遵循CJ/T188-2004《户用计量仪表数据传输技术条件》、DL/T645-2007《多功能电能表通信协议》、GB-T19582.1-2008 《基于Modbus协议的工业自动化网络规范 第1部分:Modbus应用协议》、GB-T19582.2-2008《基于Modbus协议的自动化网络规范 第2部分:Modbus协议在串行链路上的实现指南》的要求,也可根据客户需求定制通信协议。
三、产品特点
1.可直接读取字轮数据,与传统脉冲远传水表相比,无需设置表底数、表常数等参数,没有累计读数误差,机械读数和电子读数完全一致,不存在因累计误差或水表倒转而引起两者读数不一致的问题;
2.较低的功耗,只有抄表时才瞬间供电,抄完表马上断电;
3.通讯可靠性很高;
4.采用对射式方式,直接读取字轮位置数据;
5.抄表及管理自动化;
6.每只水表有唯一的地址编号,总线制布线方式,施工布线非常简单。
四、产品功能
1.计量流量功能
可以计量单向、非脉冲的水流量。
2.集抄管理功能
通过电脑的RS485通讯方式可对水表进行表号设置、读写底用量等功能。
五、技术指标
1.电气参数
工作电源:①DC9-24V(RS485接口)、②DC24-42V(MBUS接口);
工作环境:水温:0.1~+45℃(冷水)、0.1~+90℃(热水) 湿度:0~95%RH;
与上位机通信接口方式:RS-485总线接口 或M-BUS总线接口可?。?/p>
通讯传输速率:1200/2400/4800/9600bps可?。?/p>
表到数据采集器最大距离:≤300m;
功耗:静态电流小于1毫安;抄表瞬间电流小于12毫安;
通讯规约有CJ/T188-2004协议/ DL/T645-2007 /MODBUS协议可选,也可根据需要定制协议。
2.流量技术参数
| 型号 | 公称口径 DN | 量程比 Q?/Q? | 过载流量 Q? | 常用流量 Q? | 分界流量 Q? | 最小流量 Q? | 最小读数 Min | 最大读数 Max |
| mm | m3/h | m3 | ||||||
| LXZ-15 | 15 | R80 | 3.125 | 2.5 | 0.05 | 0.03125 | 0.00005 | 99999 |
| R100 | 0.04 | 0.025 | ||||||
| R125 | 0.032 | 0.02 | ||||||
| R160 | 0.025 | 0.015625 | ||||||
| LXZ-20 | 20 | R80 | 5 | 4 | 0.08 | 0.05 | 0.00005 | 99999 |
| R100 | 0.064 | 0.04 | ||||||
| R125 | 0.051 | 0.032 | ||||||
| R160 | 0.04 | 0.025 | ||||||
| LXZ-25 | 25 | R80 | 7.875 | 6.3 | 0.126 | 0.07875 | 0.00005 | 99999 |
| R100 | 0.101 | 0.063 | ||||||
| R125 | 0.081 | 0.0504 | ||||||
| R160 | 0.063 | 0.039375 | ||||||
| LXZ-32 | 32 | R80 | 12.5 | 10 | 0.2 | 0.125 | 0.00005 | 99999 |
| R100 | 0.16 | 0.1 | ||||||
| R125 | 0.128 | 0.08 | ||||||
| R160 | 0.1 | 0.0625 | ||||||
| LXZ-40 | 40 | R80 | 20 | 16 | 0.32 | 0.2 | 0.0005 | 99999 |
| R100 | 0.256 | 0.16 | ||||||
| R125 | 0.205 | 0.128 | ||||||
| R160 | 0.16 | 0.1 | ||||||
▲ 过载流量(Q?)— 要求水表在短时间内能符合最大允许误差要求,随后在额定工作条件下仍能保持计量特性的最大流量;
▲ 常用流量(Q?)— 额定工作条件下的最大流量。在此流量下,水表应正常工作并符合最大允许误差要求;
▲ 分界流量(Q?)— 出现在常用流量Q?和最小流量Q?之间、将流量范围划分成各有特定最大允许误差的“高区”和“低区”两个区的流量;
▲ 最小流量(Q?)— 要求水表的示值符合最大允许误差的最低流量;
▲ 示值误差:在水温0.1℃至30℃范围内,水表的最大允许误差在高区(Q?≤Q≤Q?)为±2%,低区(Q?≤Q<Q?)为±5%,水温超过30℃时,水表在高区的最大允许误差为±3%,低区仍为±5%。
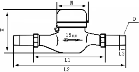
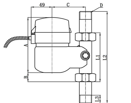
六、外形及规格尺寸

| 公称口径 | L1 | L2 | L3 | H | W | D |
| mm | ||||||
| DN15 | 165 | 255 | 14 | 118 | 87 | R?″ |
| DN20 | 195 | 295 | 16 | 118 | 87 | R?″ |
| DN25 | 225 | 345 | 22 | 130 | 92 | R1″ |
| DN32 | 230 | 350 | 22 | 135 | 92 | R1?″ |
| DN40 | 245 | 380 | 27 | 188 | 116 | R1?″ |

| 公称口径 | A | B | C | L1 | L2 | L3 | D |
| mm | |||||||
| DN15 | 130 | 13 | 77.5 | 98 | 188 | 14 | R?″ |
| DN20 | 135 | 17 | 77.5 | 106 | 206 | 16 | R?″ |
| DN25 | 140 | 13 | 87.5 | 108 | 224 | 22 | R1″ |
注意事项:
?、偻桓鱿低持?,光电直读式远传水表的表计地址不能重复设置。
?、贛-bus接口的两根线缆不区分正负极性。
?、跼S485接口的四根线缆严格区分极性,连线时应根据不同色码分别对接。
④接线图如下图:
M-bus现场总线 |
RS485现场总线 |
七、安装及使用注意事项
1.安装说明
水表在安装前首先需要读取并记录表计地址,确保表内电子编码与表盘序列号一致。
水表的安装必须符合国标GB/T778.2的安装要求。
水表的口径应根据安装管道的口径和经常使用的流量小于或接近水表的常用流量而定,安装位置应避免曝晒、水淹、冰冻和污染,应方便拆装和读数。
水表必须水平安装,水流方向与箭头指示方向一致并保证表头读数度盘显示面向上。
新装水表前,应先清除管道内的砂石、麻丝等杂物,以免造成水表故障。
水表若装在锅炉进水端时,要防止锅炉热水及蒸汽回流而损坏水表内部机件,最好在水表出水口处加装止回阀。
将表接头套入接头螺母后安装到管道上,然后扭转接头螺母将水表安装到管道上,保持水表读数度盘水平向上,水表与管道连接时不应受过大的折弯力,以免损坏水表接口断裂。禁止出现如下图所示的安装方式:

2.使用注意事项
要定期检查光电直读式远传水表的运行情况,尤其是冬季一定要注意防冻。
水表的安装位置要避免曝晒、冰冻、污染、潮湿和水淹,以便拆装和抄表,在有冰冻期间,除将水表和水管包扎外,不用时把水表进水端阀门关闭,出水端放水阀和水龙头打开,可防止水表因冰冻膨胀损坏,建议安装在专用水表箱内。
若水表出现远传抄表数据与字轮不相符的情况或者水表的远传系统发生故障时,以表头度盘字轮读数为准。
如翻开表盖查看水表读数后要及时闭合表盖,防止强光干扰影响远传读数的准确性。
水表的接线要按接线图正确连接,确保不出现断路、短路等现象,而且要求接线头不能裸露在外,用密封盒密封或绝缘胶带缠绕紧。
八、产品配件
水表配件包括连接螺母、接管、橡胶密封圈各两只。
九、保修与服务
1.凡是购买本厂生产销售的水表,安装合理且使用流量正常,在1年内如确因产品质量问题引起的内部机件损坏与故障(冻坏除外),在保证铅封完整有效的情况下,本厂负责修理、调换,并承担往返运费。
2.在保修期外如产品出现问题,本厂负责维修,收取成本费。
3.由于安装不当及人为原因造成水表损坏不在“质?!狈段凇?/p>