一、视频实拍
二、产品简介
立式容积式水表也叫立式旋转活塞式水表,是一种定排量式的水表,安装在封闭管道中,由一些被逐次充满和排放流体的已知容积的容室和凭借流体驱动的机构组成的一种水表,主要用于纯净水及其他计量精度要求较高,水质较好的流量计量工作。
三、产品类型
LXH(DN15~25mm)铜壳款

LXH-s(DN15~20mm)塑壳款

LXH2(DN15mm)不锈钢壳款

四、工作原理
在水压的作用下,水从下部进水口进入到立式容积式水表的测量室内,推动旋转活塞环绕测量室的中心轴作旋转运动,同时水从活塞内空处及活塞与测量室壁面所形成的空处流向上部出水口排出,在活塞旋转的同时,由转动轴和拨叉与计数机构相连接,所以只要记下活塞旋转的次数,就可计算出流过水表的水流量体积。
五、产品特点
1. 采用活塞旋转原理;
2. 计量精度高该表各项技术指标符合ISO4064 C级、D级标准或R160, R200标准;
3. 计数器与水隔开,数字清晰,读数方便;
4. 性能稳定可靠,采用优质材料;
5. 适用于水质较好的管网;
6. 进水口(立式)或出水口(水平)装有止回阀,可防止倒流;
7. 可适用于≤50℃的冷水;
8. 水压:≤1MPa 或1.6MPa (即10bar 或16bar);
9. 本表可根据用户要求增加远传脉冲输出功能。
六、流量技术参数
| 公称口径 | 计量等级 | Qmax | Qn | Qt | Qmin | 最小读数 | 最大读数 |
| 最大流量 | 常用流量 | 分界流量 | 最小流量 | ||||
| DN(mm) | m3/h | L/h | m3 | ||||
| 15 | C | 3 | 1.5 | 22.5 | 15 | 0.00002 | 9999 |
| D | 17.2 | 11.2 | |||||
| 20 | C | 5 | 2.5 | 37.5 | 25 | 0.00002 | 9999 |
| D | 28.7 | 18.7 | |||||
| 25 | C | 7 | 3.5 | 52.5 | 35 | 0.00002 | 9999 |
| D | 40.18 | 26.18 | |||||
| 公称口径 | 计量等级 | Q? | Q? | Q? | Q? | 最小读数 | 最大读数 |
| 最大流量 | 常用流量 | 分界流量 | 最小流量 | ||||
| DN(mm) | m3/h | L/h | m3 | ||||
| 15 | R160 | 3.125 | 2.5 | 25 | 15.625 | 0.00002 | 9999 |
| R200 | 20 | 12.5 | |||||
| 20 | R160 | 5 | 4 | 40 | 25 | 0.00002 | 9999 |
| R200 | 32 | 20 | |||||
| 25 | R160 | 7.875 | 6.3 | 63 | 39.375 | 0.00002 | 9999 |
| R200 | 50.4 | 31.5 | |||||
七、最大允许误差
?、?低区 (Q?≤Q<Q?) 最大允许误差为±5%
?、?高区 (Q?≤Q≤Q?) 最大允许误差为±2%

八、压力损失曲线

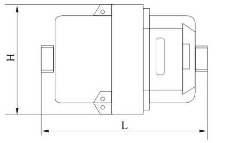
九、外形及规格尺寸

| 型号 | 公称口径 DN | 长 L | 长 L1 | 宽 W | 连接螺纹 |
| mm | D | ||||
| LXH-15 | 15 | 115 | 91 | 91 | G?B |
| LXH-20 | 20 | 130 | 96 | 96 | G1B |
| LXH-25 | 25 | 170 | 95 | 112 | G1?B |