一、产品简介
LXSL-15E~25E、LXSLR-15E~25E、LXSLR-15F~25F系列旋翼多流立式水表,用于小型工业企业用水和家庭用水计量。适用于自下而上的立式管道的安装,非常节省空间。
二、产品特点
1. 垂直安装,可做分表;
2. 多流束;
3. 计数器有指针C型、干式、湿式字轮与指针组合显示的E型及液封式F型等可?。?/p>
4. 高灵敏度;
5. 计量等级达到ISO4064 B级或C级(R80/100/125/160)标准;
6. 计数器可以是干式,湿式或液封;
7. 可适用于冷水≤50℃或热水≤90℃;
8. 水压≤1MPa或1.6MPa(即10bar或16bar)。
三、 最大允许误差
?、?低区(Q?≤Q<Q?)最大允许误差为±5%
② 高区(Q?≤Q≤Q?)最大允许误差为±2%(热水表±3%)

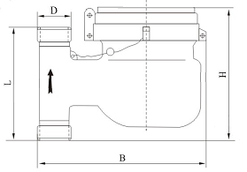
四、外形及规格尺寸

| 型号 | 公称口径 DN | 长 L | 宽 B | 高 H | 连接螺纹 D | 重量 kg |
| mm | ||||||
| LXSL-15 | 15 | 144 | 98 | 100 | G?B | 1.6 |
| LXSL-20 | 20 | 152 | 98 | 100 | G1B | 1.8 |
| LXSL-25 | 25 | 164 | 104 | 105 | G1?B | 2.4 |